| Table 1: | Powertrain Control Module (PCM) C1 |
| Table 2: | Powertrain Control Module (PCM) C2 |
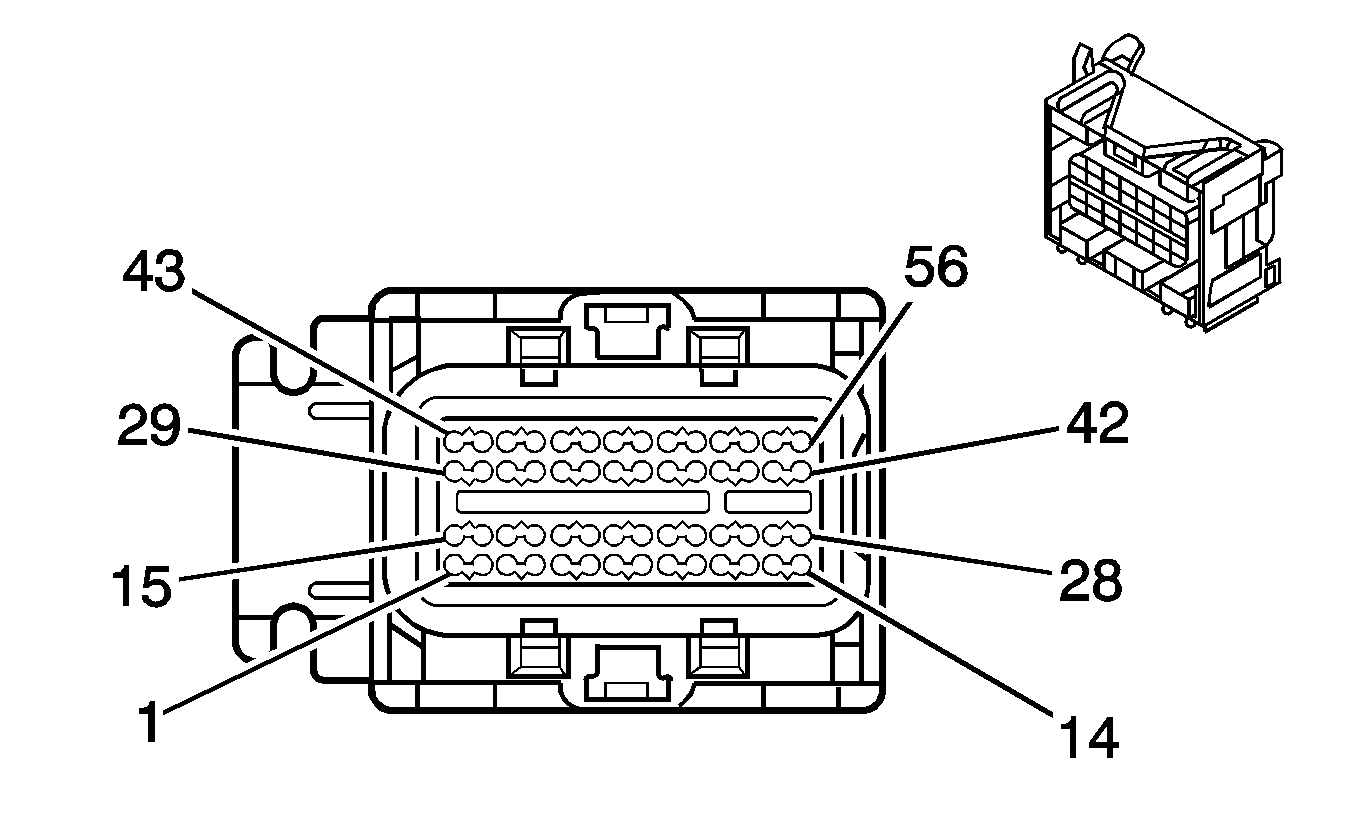
| Table 3: | Powertrain Control Module (PCM) C3 (M86) |
![]() | |||||||||
|---|---|---|---|---|---|---|---|---|---|
|
Connector Part Information |
| ||||||||
|
Pin |
Wire Color |
Circuit No. |
Function | ||||||
|
1 |
TN/BK |
2500 |
High Speed GMLAN Serial Data (+) (1) | ||||||
|
2 |
TN |
2501 |
High Speed GMLAN Serial Data (-) (1) | ||||||
|
3-5 |
-- |
-- |
Not Used | ||||||
|
6 |
D-GN/WH |
459 |
A/C Compressor Clutch Relay Control | ||||||
|
7 |
BN |
1271 |
Accelerator Pedal Position Low Reference (1) | ||||||
|
8 |
PU |
1272 |
Accelerator Pedal Position Low Reference (2) | ||||||
|
9 |
-- |
-- |
Not Used | ||||||
|
10 |
D-BU |
473 |
High Speed Cooling Fan Relay Control | ||||||
|
11 |
-- |
-- |
Not Used | ||||||
|
12 |
PU |
1589 |
Primary Fuel Level Sensor Signal | ||||||
|
13 |
PK/BK |
5293 |
Engine Main Relay Fused Control (4) | ||||||
|
14 |
L-BU |
6118 |
Manifold Air Temperature Sensor Signal | ||||||
|
15 |
-- |
-- |
Not Used | ||||||
|
16 |
D-GN |
1049 |
ECM/PCM/VCM Class 2 Serial Data | ||||||
|
17 |
GY |
2700 |
A/C Pressure Sensor 5-Volt Reference | ||||||
|
18 |
BN |
4 |
Accessory Voltage | ||||||
|
19 |
PK/BK |
1039 |
Run/Crank Ignition 1 Voltage | ||||||
|
20 |
RD/WH |
840 |
Battery Positive Voltage | ||||||
|
21 |
-- |
-- |
Not Used | ||||||
|
22 |
WH |
1310 |
EVAP Canister Vent Solenoid Control | ||||||
|
23 |
-- |
-- |
Not Used | ||||||
|
24 |
D-GN |
890 |
Fuel Tank Pressure Sensor Signal | ||||||
|
25 |
-- |
-- |
Not Used | ||||||
|
26 |
OG/BK |
380 |
A/C Refrigerant Pressure Sensor Signal | ||||||
|
27 |
D-BU |
1161 |
Accelerator Pedal Position Signal (1) | ||||||
|
28 |
-- |
-- |
Not Used | ||||||
|
29 |
TN |
2759 |
Fuel Tank Pressure Sensor Low Reference | ||||||
|
30 |
WH/BK |
1164 |
Accelerator Pedal Position 5-Volt Reference (1) | ||||||
|
31 |
-- |
-- |
Not Used | ||||||
|
32 |
L-BU |
20 |
Stop Lamp Supply Voltage | ||||||
|
33 |
-- |
-- |
Not Used | ||||||
|
34 |
PK |
2014 |
Coolant Pump Relay Coil Control | ||||||
|
35-36 |
-- |
-- |
Not Used | ||||||
|
37 |
D-GN/WH |
465 |
Fuel Pump Primary Relay Control | ||||||
|
38 |
BN |
5069 |
Engine Main Relay Coil Control | ||||||
|
39 |
-- |
-- |
Not Used | ||||||
|
40 |
BN/WH |
419 |
Check Engine Indicator Control | ||||||
|
41 |
L-BU |
1162 |
Accelerator Pedal Position Signal (2) | ||||||
|
42 |
-- |
-- |
Not Used | ||||||
|
43 |
TN |
1274 |
Accelerator Pedal Position 5-Volt Reference (2) | ||||||
|
44-45 |
-- |
-- |
Not Used | ||||||
|
46 |
PU |
420 |
Torque Converter Clutch Brake Switch Signal | ||||||
|
47 |
GY |
2709 |
Fuel Tank Pressure Sensor 5-Volt Reference | ||||||
|
48 |
YE |
447 |
Starter Relay Coil Control | ||||||
|
49-50 |
-- |
-- |
Not Used | ||||||
|
51 |
D-GN |
335 |
Low Speed Cooling Fan Relay Control | ||||||
|
52 |
-- |
-- |
Not Used | ||||||
|
53 |
BN/WH |
379 |
Cruise Control Clutch Pedal Position Switch Signal | ||||||
|
54 |
D-GN |
1433 |
Clutch Start Switch Signal | ||||||
|
55 |
-- |
-- |
Not Used | ||||||
|
56 |
BK/WH |
2751 |
Signal Ground | ||||||
![]() | |||||||||
|---|---|---|---|---|---|---|---|---|---|
|
Connector Part Information |
| ||||||||
|
Pin |
Wire Color |
Circuit No. |
Function | ||||||
|
1 |
RD |
225 |
Generator Turn On Signal | ||||||
|
2 |
D-GN |
485 |
Throttle Position Sensor Signal (1) | ||||||
|
3 |
-- |
-- |
Not Used | ||||||
|
4 |
GY |
596 |
5-Volt Reference | ||||||
|
5 |
GY |
2704 |
Manifold Absolute Pressure Sensor 5-Volt Reference | ||||||
|
6 |
GY |
2701 |
Throttle Position Sensor 5-Volt Reference | ||||||
|
7 |
PU |
486 |
Throttle Position Sensor Signal (2) | ||||||
|
8 |
D-GN |
6291 |
Manifold Absolute Pressure Sensor #2-Volt Reference | ||||||
|
9 |
L-BU/BK |
1688 |
5-Volt Reference | ||||||
|
10-15 |
-- |
-- |
Not Used | ||||||
|
16 |
PU |
6413 |
EST Return Low Reference | ||||||
|
17 |
YE |
573 |
Crankshaft Position Sensor Signal (1) | ||||||
|
18 |
PU |
574 |
Crankshaft Position Sensor Low Reference (1) | ||||||
|
19 |
-- |
-- |
Not Used | ||||||
|
20 |
D-GN/WH |
6292 |
Manifold Absolute Pressure #2 Low Reference | ||||||
|
21 |
PK/BK |
632 |
Camshaft Position Sensor Low Reference | ||||||
|
22-24 |
-- |
-- |
Not Used | ||||||
|
25 |
TN/WH |
1669 |
Heated Oxygen Sensor Low Signal Bank 1 Sensor (2) | ||||||
|
26 |
BN/WH |
633 |
Camshaft Position Sensor Signal | ||||||
|
27-28 |
-- |
-- |
Not Used | ||||||
|
29 |
GY |
1724 |
Supercharger Boost Solenoid Control | ||||||
|
30 |
OG/BK |
469 |
Manifold Absolute Pressure Sensor Low Reference | ||||||
|
31 |
-- |
-- |
Not Used | ||||||
|
32 |
TN |
1667 |
Heated Oxygen Sensor Low Signal Bank 2 Sensor (1) | ||||||
|
33 |
BK |
1744 |
Fuel Injector Control (1) | ||||||
|
34 |
-- |
-- |
Not Used | ||||||
|
35 |
YE |
410 |
Engine Coolant Temperature Sensor Signal | ||||||
|
36 |
BK/WH |
1704 |
Sensor Low Reference | ||||||
|
37 |
GY |
6337 |
Manifold Absolute Pressure Sensor #2 Signal | ||||||
|
38 |
L-GN |
432 |
Manifold Absolute Pressure Sensor Signal | ||||||
|
39 |
BK |
2752 |
Throttle Position Sensor Low Reference | ||||||
|
40 |
BN/WH |
6405 |
EST A Control | ||||||
|
41 |
YE |
492 |
Mass Air Flow Sensor Signal | ||||||
|
42 |
D-GN/WH |
6407 |
EST C Control | ||||||
|
43 |
BK/WH |
1423 |
Heated Oxygen Sensor Heater Low Control Bank 1 Sensor (2) | ||||||
|
44 |
-- |
-- |
Not Used | ||||||
|
45 |
GY |
23 |
Generator Field Duty Cycle Signal | ||||||
|
46 |
PU/WH |
1668 |
Heated Oxygen Sensor High Signal Bank 1 Sensor (2) | ||||||
|
47 |
-- |
-- |
Not Used | ||||||
|
48 |
PU |
1666 |
Heated Oxygen Sensor High Signal Bank 2 Sensor (1) | ||||||
|
49-50 |
-- |
-- |
Not Used | ||||||
|
51 |
TN |
472 |
Intake Air Temperature Sensor Signal | ||||||
|
52 |
BK |
2761 |
Coolant Temperature Sensor Low Reference | ||||||
|
53 |
L-GN/BK |
1745 |
Fuel Injector Control (2) | ||||||
|
54 |
L-BU/BK |
844 |
Fuel Injector Control (4) | ||||||
|
55 |
PK/BK |
1746 |
Fuel Injector Control (3) | ||||||
|
56-57 |
-- |
-- |
Not Used | ||||||
|
58 |
D-GN |
676 |
Heated Oxygen Sensor Heater High Control Bank 1 Sensor (1) | ||||||
|
59 |
D-BU/WH |
6406 |
EST B Control | ||||||
|
60 |
L-BU/WH |
6408 |
EST D Control | ||||||
|
61-63 |
-- |
-- |
Not Used | ||||||
|
64 |
BK |
2760 |
Intake Air Temperature Sensor Low Reference | ||||||
|
65 |
BN |
582 |
Throttle Actuator Control Close | ||||||
|
66 |
YE |
581 |
Throttle Actuator Control Open | ||||||
|
67 |
-- |
-- |
Not Used | ||||||
|
68 |
D-BU |
496 |
Knock Sensor Signal (1) | ||||||
|
69 |
GY |
1716 |
Knock Sensor Low Reference (1) | ||||||
|
70-72 |
-- |
-- |
Not Used | ||||||
|
73 |
BK/WH |
451 |
Signal Ground | ||||||
![]() | |||||||||
|---|---|---|---|---|---|---|---|---|---|
|
Connector Part Information |
| ||||||||
|
Pin |
Wire Color |
Circuit No. |
Function | ||||||
|
1-9 |
-- |
-- |
Not Used | ||||||
|
10 |
TN |
891 |
Boost Gage Signal | ||||||
|
11-14 |
-- |
-- |
Not Used | ||||||
|
15 |
TN/BK |
231 |
Oil Pressure Switch Signal | ||||||
|
16-21 |
-- |
-- |
Not Used | ||||||
|
22 |
WH/BK |
2932 |
5-Volt Reference | ||||||
|
23-30 |
-- |
-- |
Not Used | ||||||
|
31 |
GY/BK |
433 |
BARO Sensor Signal | ||||||
|
32-35 |
-- |
-- |
Not Used | ||||||
|
36 |
OG/BK |
6014 |
Low Reference | ||||||
|
37 |
D-GN/WH |
428 |
EVAP Canister Purge Solenoid Control | ||||||
|
38-43 |
-- |
-- |
Not Used | ||||||
|
44 |
PU |
401 |
VSS Low Signal | ||||||
|
45 |
YE |
400 |
VSS High Signal | ||||||
|
46-56 |
-- |
-- |
Not Used | ||||||